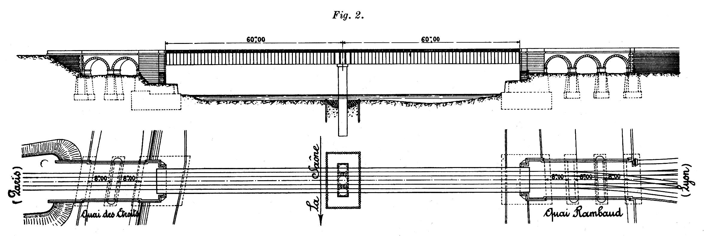
Fichier:RGCF-1934-11-Pont Quarantaine-fig02 RS.JPG
Aller à la navigation
Aller à la recherche
Taille de cet aperçu : 800 × 269 pixels. Autre résolution : 2 351 × 791 pixels.
Fichier d’origine (2 351 × 791 pixels, taille du fichier : 258 kio, type MIME : image/jpeg)
Document Revue Générale des Chemins de Fer
Collection Roland Sermet
Scan et OCR RF
Historique du fichier
Cliquer sur une date et heure pour voir le fichier tel qu'il était à ce moment-là.
| Date et heure | Vignette | Dimensions | Utilisateur | Commentaire | |
|---|---|---|---|---|---|
| actuel | 19 mars 2012 à 14:56 | 2 351 × 791 (258 kio) | Roland (discussion | contributions) | Document Revue Générale des Chemins de Fer Collection Roland Sermet Scan et OCR RF |
Vous ne pouvez pas remplacer ce fichier.
Utilisation du fichier
La page suivante utilise ce fichier :